ZAZQ(X)电动三通调节阀
- 销售:021-32051999
- 销售:021-32050777
- 传真:021-66099555
详情介绍
- 产品介绍
- 服务承诺
- 订货流程
ZAZQ电动三通合流调节阀/ZAZX电动三通分流调节阀有合流和分流二种型式,由DKZ电动执行机构和三通合流或三通分流调节阀组成,以电源为动力,接受统一的标准信号0~10mA DC或4-20mA Dc驱使阀门开度与此操作信号相对应。合流阀的作用是将一种流体分成两路流体。分流合流阀只能对应选用,但当DN≤80时,合流阀可用于分流场合。可替代两台单、双座调节阀,节省投资,占据空间小。三通调节阀通常用于热交换器的两种介质调节,及简单的配比调节。
电动三通调节阀 主要技术参数
公称通径mm | 合流 | 25 | 32 | 40 | 50 | 65 | 80 | 100 | 125 | 150 | 200 | 250 | 300 |
分流 | 80 | 100 | 125 | 150 | 200 | 250 | 300 | ||||||
额定流量系数Kv | 合流 | 8.5 | 13 | 21 | 34 | 52 | 85 | 135 | 210 | 340 | 535 | 800 | 1260 |
分流 | 85 | 135 | 210 | 340 | 535 | 800 | 1260 | ||||||
公称压力 MPa | 1.6 4.0 6.0 | ||||||||||||
流量特性 | 直线 | ||||||||||||
执 | Ⅱ型 | DKZ-310 | DKZ-310 | DKZ-410 | DKZ-510 | DKZ-510 | |||||||
Ⅲ型 | DKZ-510C | DKZ-310C | DKZ-410C | DKZ-510C | DKZ-510C | ||||||||
出轴推力(N) | 4000 | 4000 | 6400 | 16000 | 16000 | ||||||||
行程mm | 16 | 25 | 40 | 60 | 100 | ||||||||
上阀盖型式 | 1.6 | 1.0 | 2.5 | 1.6 | 1.5 | 1.0 | 0.65 | 0.4 | 0.3 | 0.16 | 0.26 | 0.18 | |
允许压差(MPa) | 普通式(常温型),热片式(中温型) | ||||||||||||
介质温度℃ | -40~230℃(常温型),散热片式230~450℃(中温型),特殊订货-100~600℃ | ||||||||||||
可调比 | 30:1 | ||||||||||||
法兰标准 | 铸铁按JB78-59,铸钢按JB79-59 | ||||||||||||
输入阻抗 | Ⅱ型:200 Ⅲ型:250 | ||||||||||||
出厂状态 | 电开(对上阀座而言),如需电关,订货时应注明 | ||||||||||||
电动三通调节阀 性能指标
项目 | 指标值 | |
基本误差% | ≤±3.5 | |
回差% | ≤2.5 | |
死区% | ≤3.0 | |
始终点偏差% | 电开、电关 | ±2.5 |
±2.5 | ||
允许泄量L/H | 符合JB/T7387-94Ⅲ 级 小于阀的额定容量×10-3 | |

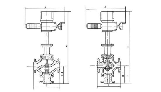
电动三通调节阀 主要外形尺寸
公称 | A | L | H | H1 | |||||||||||
分流 | 合流 | PN1.6 | PN4.0 | PN6.4 | 分流 | 合流 | PN1.6 | PN4.0 | PN6.4 | PN1.6 | PN4.0 | PN6.4 | |||
普通型 | 热片型 | 普通型 | 热片型 | ||||||||||||
25 | 520 | 490 | 185 | 190 | 200 | 715 | 865 | 140 | 150 | 160 | |||||
32 | 520 | 490 | 200 | 210 | 210 | 721 | 871 | 150 | 160 | 170 | |||||
40 | 520 | 490 | 220 | 230 | 235 | 733 | 883 | 160 | 170 | 180 | |||||
50 | 520 | 490 | 250 | 255 | 265 | 748 | 898 | 180 | 190 | 200 | |||||
65 | 520 | 520 | 275 | 285 | 295 | 839 | 999 | 200 | 220 | 220 | |||||
80 | 520 | 520 | 305 | 310 | 320 | 872 | 1032 | 842 | 1002 | 225 | 250 | 265 | 210 | 230 | 240 |
100 | 520 | 520 | 350 | 355 | 370 | 896 | 1056 | 846 | 1006 | 245 | 275 | 285 | 220 | 250 | 260 |
125 | 520 | 520 | 410 | 425 | 440 | 947 | 1162 | 897 | 1112 | 284 | 320 | 325 | 260 | 300 | 300 |
150 | 520 | 520 | 450 | 460 | 475 | 947 | 1162 | 897 | 1112 | 305 | 340 | 340 | 280 | 320 | 320 |
200 | 520 | 520 | 550 | 560 | 570 | 965 | 1180 | 905 | 1120 | 350 | 400 | 410 | 320 | 380 | 380 |
250 | 520 | 520 | 670 | 740 | 750 | ||||||||||
300 | 520 | 520 | 770 | 805 | 820 | ||||||||||
良好的品质、优良的服务 奇高为你创造更多价值!
“奇高阀门”的期望,不断提升服务质量,精益求精,“真诚的服务”是“奇高”永恒的主题。“奇高”严格按照IS09001-2000 质量体系认证要求,质量严格把关, 责任到人,确保生产、销售、服务的健康运行。加强与用户沟通,竭诚为广大客户提供优良产品,贴心服务。特此我厂做出以下承诺:
产品标准:
产品严格按照中国GB、HG 标准和美国API等标准设计、制造、验收。密封面硬度达到国家规定要求,宽度超过国家标准。
售前服务:
产品介绍,技术交流,非标产品设计,疑难解答。
售中服务:
守信合同,及时供货,随时保持与客户联系。 对特殊或复制的产品,我厂安排技术人员对用户进行产品使用、故障排除
售后服务:
1、“奇高”牌产品品质期为自出厂起12个月,实行“三包”服务(包退、包换、保修)。
2、产品在使用中我厂定期组织技术、质检人员进行访问,征询用户对产品质量、 使用状况、改进意见等方面的反馈, 以便进一步提高产品质量。
3、对用户投诉质量问题,快速作出反应,售后服务人员在24-36小时(省外48小时)赶赴现场。
4、对售后服务,要求用户填写服务后的质量反馈信息表,并作出鉴定意见,以便提高奇高的服务质量。
1、客户如对产品有特殊要求,须在订货合同中提供以下说明:
a、结构长度;
b、连接形式;
c、公称直径、全通径、缩径、管道尺寸;
d、运行介质及温度、压力范围;
e、试验、检验标准及其他要求
2、本厂可根据客户特定要求配置各类驱动装置。
3、如由客户提供确定的阀门类型和型号时,客户应正确说明其型号的含义和要求,在供需双方理解一致的条件下签订合同。
4、期货、订货的客户请先来电函详细告诉所需的阀门型号、规格、数量以及交货时间、地点,并按总的30%预定金或全额货款及时汇入我厂帐户,其余货款待发货前汇入,以便及时安排发货。
订单流程:
1、客户采购清单传真至021-33872143,或来电咨询 021-33872141
2、收到客户采购清单,为客户提供阀门型号选型与报价(价格清单)。
3、具体商定:交货期、特殊要求等事宜。
订货须知:
1、客户如对产品有特殊要求,须在订货合同中提供以下说明:
|
|||||
|
|||||
2、本厂可根据客户特定要求配置各类驱动装置。
|
|||||
3、如由客户提供确定的阀门类型和型号时,客户应正确说明其型号的含义和要求,在供需双方理解一致的条件下签订合同。
|
|||||
4、期货、订货的客户请先来电函详细告诉所需的阀门型号、规格、数量以及交货时间、地点,并按总的30%预定金或全额货款及时汇入我厂账户, 其余货款待发货前汇入,以便及时安排发货。
|
售中服务:
守信合同,及时供货,随时保持与客户联系。
对特殊或复制的产品,我厂安排技术人员对用户进行产品使用、故障排除
售后服务:
1、“奇高”产品品质期为自出厂起12个月,实行“三包”服务(包退、包换、保修)。
2、产品在使用中我厂定期组织技术、质检人员进行访问,征询用户对产品质量、使用状况、改进意见等方面的反馈,
以便进一步提高产品质量。
3、对用户投诉质量问题,快速作出反应,售后服务人员在24-36小时(省外48小时)赶赴现场。
4、对售后服务,要求用户填写服务后的质量反馈信息表,并作出鉴定意见,以便提高“奇高”的服务质量。
声明 |
|