J44H角式截止阀
- 销售:021-32051999
- 销售:021-32050777
- 传真:021-66099555
详情介绍
- 产品介绍
- 服务承诺
- 订货流程
J44H角式截止阀的启闭件是塞形的阀瓣,密封面呈平面或锥面,阀瓣沿流体的线作直线运动。阀杆的运动形式,有升降杆式(阀杆升降,手轮不升降),也有升降旋转杆式(手轮与阀杆一起旋转升降,螺母设在阀体上)。
角式截止阀 产品特点
1、结构简单,制造和维修比较方便。
2、工作行程小,启闭时间短。
3、密封性好,密封面间磨擦力小,寿命较长。
设计与制造符合中国国家标准
1、基本结构形式:角式
2、公称压力:PN1.6-4.0(MPa)
3、公称通径:DN15-300(mm)
角式截止阀 应用规范
遵循规范 | STANDARD |
设计与制造 | GB12233/GB 12235 |
结构长度 | GB 12221/JB96(长系列) |
结构长度 | GB78/JB79(GB、HG、SH) |
压力试验 | GB/T 13927 |
标志 | GB 12220 |
供货 | GB/T12252 |

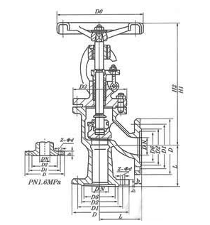
角式截止阀 主要外形尺寸
J44H角式截止阀-1.6MPa
DN | in | L | D | D1 | D2 | f | b | z-φd | Do | H1 | H2 | W |
15 | 1/2 | 65/90 | 95 | 65 | 45 | 2 | 14 | 4-φ14 | 100 | 240 | 265 | 7 |
20 | 3/4 | 75/95 | 105 | 75 | 55 | 2 | 16 | 4-φ14 | 100 | 245 | 270 | 7.5 |
25 | 1 | 80/100 | 115 | 85 | 65 | 2 | 16 | 4-φ14 | 120 | 250 | 275 | 8.5 |
32 | 21/4 | 95/105 | 135 | 100 | 78 | 2 | 18 | 4-φ18 | 140 | 260 | 290 | 12 |
40 | 21/2 | 100/115 | 145 | 110 | 85 | 2 | 18 | 4-φ18 | 140 | 290 | 325 | 14 |
50 | 2 | 115/125 | 160 | 125 | 100 | 2 | 20 | 4-φ18 | 160 | 300 | 335 | 19 |
65 | 21/2 | 145 | 180 | 145 | 120 | 2 | 20 | 4-φ18 | 180 | 355 | 400 | 27 |
80 | 3 | 155 | 195 | 160 | 135 | 2 | 22 | 4-φ18 | 240 | 400 | 450 | 42 |
100 | 4 | 175 | 215 | 180 | 155 | 2 | 24 | 8-φ18 | 240 | 455 | 495 | 50 |
125 | 5 | 200 | 245 | 210 | 185 | 2 | 26 | 8-φ18 | 280 | 530 | 560 | 64 |
150 | 6 | 240/225 | 280 | 240 | 210 | 2 | 28 | 8-φ23 | 320 | 605 | 650 | 85 |
200 | 8 | 275 | 335 | 295 | 265 | 2 | 30 | 8-φ23 | 360 | 650 | 770 | 155 |
J44H角式截止阀-2.5MPa
DN | in | L | D | D1 | D2 | f | b | z-φd | Do | H1 | H2 | W |
15 | 1/2 | 65/90 | 95 | 65 | 45 | 2 | 16 | 4-φ14 | 120 | 245 | 270 | 7.5 |
20 | 3/4 | 75/95 | 105 | 75 | 55 | 2 | 16 | 4-φ14 | 120 | 250 | 275 | 8.8 |
25 | 1 | 80/100 | 115 | 85 | 65 | 2 | 16 | 4-φ14 | 140 | 260 | 290 | 11 |
32 | 21/4 | 95/105 | 135 | 100 | 78 | 2 | 18 | 4-φ18 | 140 | 290 | 325 | 13 |
40 | 21/2 | 100/115 | 145 | 110 | 85 | 3 | 18 | 4-φ18 | 160 | 300 | 335 | 18 |
50 | 2 | 115/125 | 160 | 125 | 100 | 3 | 20 | 4-φ18 | 180 | 355 | 400 | 31 |
65 | 21/2 | 145 | 180 | 145 | 120 | 3 | 22 | 8-φ18 | 220 | 400 | 450 | 39 |
80 | 3 | 155 | 195 | 160 | 135 | 3 | 22 | 8-φ18 | 280 | 450 | 495 | 50 |
100 | 4 | 175 | 230 | 190 | 160 | 3 | 24 | 8-φ23 | 320 | 530 | 590 | 60 |
125 | 5 | 200 | 270 | 220 | 188 | 3 | 28 | 8-φ25 | 380 | 600 | 650 | 75 |
150 | 6 | 240/225 | 300 | 250 | 218 | 3 | 30 | 8-φ25 | 400 | 650 | 770 | 98 |
200 | 8 | 275 | 360 | 310 | 278 | 3 | 34 | 12-φ23 | 450 | 700 | 850 | 170 |
良好的品质、优良的服务 奇高为你创造更多价值!
“奇高阀门”的期望,不断提升服务质量,精益求精,“真诚的服务”是“奇高”永恒的主题。“奇高”严格按照IS09001-2000 质量体系认证要求,质量严格把关, 责任到人,确保生产、销售、服务的健康运行。加强与用户沟通,竭诚为广大客户提供优良产品,贴心服务。特此我厂做出以下承诺:
产品标准:
产品严格按照中国GB、HG 标准和美国API等标准设计、制造、验收。密封面硬度达到国家规定要求,宽度超过国家标准。
售前服务:
产品介绍,技术交流,非标产品设计,疑难解答。
售中服务:
守信合同,及时供货,随时保持与客户联系。 对特殊或复制的产品,我厂安排技术人员对用户进行产品使用、故障排除
售后服务:
1、“奇高”牌产品品质期为自出厂起12个月,实行“三包”服务(包退、包换、保修)。
2、产品在使用中我厂定期组织技术、质检人员进行访问,征询用户对产品质量、 使用状况、改进意见等方面的反馈, 以便进一步提高产品质量。
3、对用户投诉质量问题,快速作出反应,售后服务人员在24-36小时(省外48小时)赶赴现场。
4、对售后服务,要求用户填写服务后的质量反馈信息表,并作出鉴定意见,以便提高奇高的服务质量。
1、客户如对产品有特殊要求,须在订货合同中提供以下说明:
a、结构长度;
b、连接形式;
c、公称直径、全通径、缩径、管道尺寸;
d、运行介质及温度、压力范围;
e、试验、检验标准及其他要求
2、本厂可根据客户特定要求配置各类驱动装置。
3、如由客户提供确定的阀门类型和型号时,客户应正确说明其型号的含义和要求,在供需双方理解一致的条件下签订合同。
4、期货、订货的客户请先来电函详细告诉所需的阀门型号、规格、数量以及交货时间、地点,并按总的30%预定金或全额货款及时汇入我厂帐户,其余货款待发货前汇入,以便及时安排发货。
订单流程:
1、客户采购清单传真至021-33872143,或来电咨询 021-33872141
2、收到客户采购清单,为客户提供阀门型号选型与报价(价格清单)。
3、具体商定:交货期、特殊要求等事宜。
订货须知:
1、客户如对产品有特殊要求,须在订货合同中提供以下说明:
|
|||||
|
|||||
2、本厂可根据客户特定要求配置各类驱动装置。
|
|||||
3、如由客户提供确定的阀门类型和型号时,客户应正确说明其型号的含义和要求,在供需双方理解一致的条件下签订合同。
|
|||||
4、期货、订货的客户请先来电函详细告诉所需的阀门型号、规格、数量以及交货时间、地点,并按总的30%预定金或全额货款及时汇入我厂账户, 其余货款待发货前汇入,以便及时安排发货。
|
售中服务:
守信合同,及时供货,随时保持与客户联系。
对特殊或复制的产品,我厂安排技术人员对用户进行产品使用、故障排除
售后服务:
1、“奇高”产品品质期为自出厂起12个月,实行“三包”服务(包退、包换、保修)。
2、产品在使用中我厂定期组织技术、质检人员进行访问,征询用户对产品质量、使用状况、改进意见等方面的反馈,
以便进一步提高产品质量。
3、对用户投诉质量问题,快速作出反应,售后服务人员在24-36小时(省外48小时)赶赴现场。
4、对售后服务,要求用户填写服务后的质量反馈信息表,并作出鉴定意见,以便提高“奇高”的服务质量。
声明 |
|